都々逸
TOP
RSS2.0
お気に入りに追加
[PR]
×
[PR]上記の広告は3ヶ月以上新規記事投稿のないブログに表示されています。新しい記事を書く事で広告が消えます。
2026/05/11
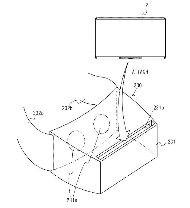
「ニンテンドースイッチ」はVR対応か 新たな特許資料で判明
これがスイッチの隠し玉?
任天堂の新型機、ニンテンドースイッチ(2017年3月発売)の新たな特許資料が公開。
注目はオプションのヘッドセットでスマホVR的な対応も検討されていることが明らかになっている事。
http://www.neogaf.com/forum/showthread.php?t=1325344
メモリやCPUの増設ユニットの絵もあったりと任天堂らしい強化機能もオプションで発売したりするのかもしれません。
ニンテンドースイッチ
2016/12/16
Comment(3)
≪
【NPD】2016年11月米セールス PS4が首位に復帰、ソフト首位は「CoD:IW」、ポケモン歴代最高初月
*
HOME
*
【週販】3DS vs PSVITA 販売台数261週目&ソフト売上
≫
この記事にコメントする
name
title
color
Black
LimeGreen
SeaGreen
Teal
FireBrick
Tomato
IndianRed
BurlyWood
SlateGray
DarkSlateBlue
LightPink
DeepPink
DarkOrange
Gold
DimGray
Silver
mail
URL
comment
pass
secret (チェックを入れると管理人だけに表示できます)
無題
あぁー、やっぱり安物路線で来たんじゃ・・・
NONAME
|
|
2016/12/16(Fri)00:49:09
|
編集
無題
PSVRのソフトラインアップがショボ過ぎるから、ハード自体はショボくても任天堂IPのVRゲーの方が市場は広がりそう
NONAME
|
|
2016/12/16(Fri)21:00:55
|
編集
無題
モーコン、3Dの次はVRを潰しに来たか
NONAME
|
|
2016/12/17(Sat)01:21:49
|
編集
ブログ内検索
最新記事
ツタヤ週販~10/7 『スーパーマリオパーティ』首位発進、『アサクリオデッセイ』2位
(10/08)
『DOA6』バース、ティナ、ミラ参戦ムービー公開
(10/05)
噂】任天堂は新型スイッチを2019年後半に投入を検討
(10/05)
【週販】2018年第39週(9/24~9/30) ハード&ソフト売上
(10/03)
『RDR2』公式プレイ映像第2弾が公開、豊富なアクティビティに一人称視点モード、シネマティックカメラなど
(10/02)
PSのヒット作を表彰する「PSアワード2018」が12月3日に開催決定、本日から10/8までユーザー投票も受付
(10/01)
SIEが10/12から「PS4 Pro」の5千円値下げを発表 『RDR2』Pro同梱モデル、「PSVR」にもカメラ+ソフト同梱版が発表 追記:予約開始
(10/01)
ツタヤ週販~9/30 『無双オロチ3』1・5位、『閃の軌跡IV』2・7位、『FIFA19』3・9・14位
(10/01)
R☆が『RDR2』ゲームプレイ映像2を予告 日本時間10月1日 22時公開
(10/01)
『ラストオブアス2』の発売は2019年か PS Musicの紹介に「Music from The Last of Us Part II (2019)」
(09/30)
カテゴリー
このごろ ( 205 )
マンガ レビュー ( 25 )
GAME ( 1987 )
PSVITA ( 1089 )
PSP ( 59 )
PlayStation Network ( 253 )
3DS ( 357 )
WiiU ( 347 )
DS ( 1 )
PS4 ( 1753 )
XBOX ONE ( 202 )
ニンテンドースイッチ ( 189 )
PC GAME ( 83 )
スマホ ( 52 )
ゲーム売上・考察 ( 1264 )
べスト版 廉価版 ( 44 )
クリエイター ( 52 )
ゲームショー ( 309 )
ニンテンドーダイレクト ( 64 )
ゲーム放送・生中継 ( 225 )
国内ハード販売台数 ( 12 )
アーカイブ
2018 年 10 月 ( 9 )
2018 年 09 月 ( 77 )
2018 年 08 月 ( 40 )
2018 年 07 月 ( 34 )
2018 年 06 月 ( 57 )
カウンター
予約開始
SEKIRO: SHADOWS DIE TWICE (【予約特典】同梱)
2019-03-22
ドラゴンクエストビルダーズ2【早期購入特典】同梱
2018-12-20
JUDGE EYES:死神の遺言 - PS4
2018-12-13
ACE COMBAT 7: SKIES UNKNOWN【早期購入特典】「AC5移植版) 」 ほか封入
2019-01-17
レッド・デッド・リデンプション2【数量限定特典】同梱
2018-10-26
キングダム ハーツIII - PS4
2019-01-25
Anthem (アンセム) 【予約特典】同梱 - PS4
2019-02-22
CODE VEIN【予約特典】【早期購入特典】(封入)
2018-09-27
バーコード
人気記事
プロフィール
HN:
とり
自己紹介:
トリコのフィギュアが今さらほしくなってきました…
@tori3haneをフォロー
おすすめ
RSS
RSS 0.91
RSS 1.0
RSS 2.0
忍者PR
PR
ATOM
RSS
Copyright ©
都々逸
All Rights Reserved
Design by
MMIT
/
TemplateB3
Powered by
NINJA TOOLS
忍者ブログ
[PR]