都々逸
TOP
RSS2.0
お気に入りに追加
[PR]
×
[PR]上記の広告は3ヶ月以上新規記事投稿のないブログに表示されています。新しい記事を書く事で広告が消えます。
2026/05/26
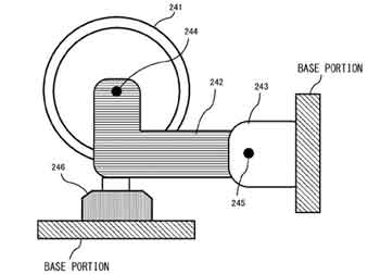
任天堂、LRボタンにホイールを採用か? 回転操作ボタンの特許資料が公開
新たな入力方法となるか
肩に位置するボタンをマウスのホイールやジョグダイヤル状の回転/押し込みボタンに採用するといった、任天堂の北米での特許資料が話題に。
http://www.freepatentsonline.com/y2015/0261321.html
ページ送りや地図の拡大縮小を頻繁に使用するようなタイトルだと凄く便利そうなボタン。
ユニット数の多いシミュレーションゲームとか。
特許申請で即製品化と言うわけではありませんが新型機NXへの採用となるのかも注目です。
ニンテンドースイッチ
2015/09/18
Comment(2)
≪
PS4独占 ダーク戦国ARPG 「仁王 NIOH」ステージ紹介動画 【TGS 2015】
*
HOME
*
PS4「グラビティデイズ」直撮りプレイ動画 大画面で無重力体験! 【TGS 2015】
≫
この記事にコメントする
name
title
color
Black
LimeGreen
SeaGreen
Teal
FireBrick
Tomato
IndianRed
BurlyWood
SlateGray
DarkSlateBlue
LightPink
DeepPink
DarkOrange
Gold
DimGray
Silver
mail
URL
comment
pass
secret (チェックを入れると管理人だけに表示できます)
無題
ジョグダイヤル式でLRボタンとして使うと
磨耗と誤作動が気になるのよね
NONAME
|
|
2015/09/18(Fri)09:18:20
|
編集
無題
操作性悪そうですな
|
|
2015/09/18(Fri)09:21:09
|
編集
ブログ内検索
最新記事
ツタヤ週販~10/7 『スーパーマリオパーティ』首位発進、『アサクリオデッセイ』2位
(10/08)
『DOA6』バース、ティナ、ミラ参戦ムービー公開
(10/05)
噂】任天堂は新型スイッチを2019年後半に投入を検討
(10/05)
【週販】2018年第39週(9/24~9/30) ハード&ソフト売上
(10/03)
『RDR2』公式プレイ映像第2弾が公開、豊富なアクティビティに一人称視点モード、シネマティックカメラなど
(10/02)
PSのヒット作を表彰する「PSアワード2018」が12月3日に開催決定、本日から10/8までユーザー投票も受付
(10/01)
SIEが10/12から「PS4 Pro」の5千円値下げを発表 『RDR2』Pro同梱モデル、「PSVR」にもカメラ+ソフト同梱版が発表 追記:予約開始
(10/01)
ツタヤ週販~9/30 『無双オロチ3』1・5位、『閃の軌跡IV』2・7位、『FIFA19』3・9・14位
(10/01)
R☆が『RDR2』ゲームプレイ映像2を予告 日本時間10月1日 22時公開
(10/01)
『ラストオブアス2』の発売は2019年か PS Musicの紹介に「Music from The Last of Us Part II (2019)」
(09/30)
カテゴリー
このごろ ( 205 )
マンガ レビュー ( 25 )
GAME ( 1987 )
PSVITA ( 1089 )
PSP ( 59 )
PlayStation Network ( 253 )
3DS ( 357 )
WiiU ( 347 )
DS ( 1 )
PS4 ( 1753 )
XBOX ONE ( 202 )
ニンテンドースイッチ ( 189 )
PC GAME ( 83 )
スマホ ( 52 )
ゲーム売上・考察 ( 1264 )
べスト版 廉価版 ( 44 )
クリエイター ( 52 )
ゲームショー ( 309 )
ニンテンドーダイレクト ( 64 )
ゲーム放送・生中継 ( 225 )
国内ハード販売台数 ( 12 )
アーカイブ
2018 年 10 月 ( 9 )
2018 年 09 月 ( 77 )
2018 年 08 月 ( 40 )
2018 年 07 月 ( 34 )
2018 年 06 月 ( 57 )
カウンター
予約開始
SEKIRO: SHADOWS DIE TWICE (【予約特典】同梱)
2019-03-22
ドラゴンクエストビルダーズ2【早期購入特典】同梱
2018-12-20
JUDGE EYES:死神の遺言 - PS4
2018-12-13
ACE COMBAT 7: SKIES UNKNOWN【早期購入特典】「AC5移植版) 」 ほか封入
2019-01-17
レッド・デッド・リデンプション2【数量限定特典】同梱
2018-10-26
キングダム ハーツIII - PS4
2019-01-25
Anthem (アンセム) 【予約特典】同梱 - PS4
2019-02-22
CODE VEIN【予約特典】【早期購入特典】(封入)
2018-09-27
バーコード
人気記事
プロフィール
HN:
とり
自己紹介:
トリコのフィギュアが今さらほしくなってきました…
@tori3haneをフォロー
おすすめ
RSS
RSS 0.91
RSS 1.0
RSS 2.0
忍者PR
PR
ATOM
RSS
Copyright ©
都々逸
All Rights Reserved
Design by
MMIT
/
TemplateB3
Powered by
NINJA TOOLS
忍者ブログ
[PR]