都々逸
TOP
RSS2.0
お気に入りに追加
[PR]
×
[PR]上記の広告は3ヶ月以上新規記事投稿のないブログに表示されています。新しい記事を書く事で広告が消えます。
2026/05/26
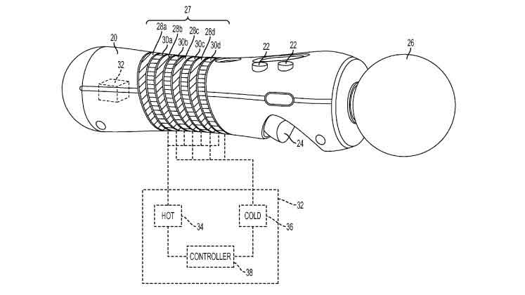
PSmoveに新たな特許! コントローラーの温度が変る機能を出願
温度が変るコントローラー!? これも進化の可能性の一つか。
米kotakuの報じたところによるとコントローラーの温度を上下させた機能の特許を取得したそうだ。
kotakuではさらに銃のオーバーヒートの熱や、手汗を感知して冷やすなどの可能性を伝えている。
近日中にはバッテリーの問題など実現にはハードルが高そうな機能ではあるが、よりリアルで楽しい体験を求める進化の選択肢の一つか。
引用:
kotaku
出願内容
GAME
2012/10/14
Comment(0)
≪
「ザラストオブアス」暴力の必然、プレイの可能性。 少女エリーの外伝漫画も2013年に発表!
*
HOME
*
レベルファイブ新作「妖怪ウォッチ」は3DS作品と判明!
≫
この記事にコメントする
name
title
color
Black
LimeGreen
SeaGreen
Teal
FireBrick
Tomato
IndianRed
BurlyWood
SlateGray
DarkSlateBlue
LightPink
DeepPink
DarkOrange
Gold
DimGray
Silver
mail
URL
comment
pass
secret (チェックを入れると管理人だけに表示できます)
ブログ内検索
最新記事
ツタヤ週販~10/7 『スーパーマリオパーティ』首位発進、『アサクリオデッセイ』2位
(10/08)
『DOA6』バース、ティナ、ミラ参戦ムービー公開
(10/05)
噂】任天堂は新型スイッチを2019年後半に投入を検討
(10/05)
【週販】2018年第39週(9/24~9/30) ハード&ソフト売上
(10/03)
『RDR2』公式プレイ映像第2弾が公開、豊富なアクティビティに一人称視点モード、シネマティックカメラなど
(10/02)
PSのヒット作を表彰する「PSアワード2018」が12月3日に開催決定、本日から10/8までユーザー投票も受付
(10/01)
SIEが10/12から「PS4 Pro」の5千円値下げを発表 『RDR2』Pro同梱モデル、「PSVR」にもカメラ+ソフト同梱版が発表 追記:予約開始
(10/01)
ツタヤ週販~9/30 『無双オロチ3』1・5位、『閃の軌跡IV』2・7位、『FIFA19』3・9・14位
(10/01)
R☆が『RDR2』ゲームプレイ映像2を予告 日本時間10月1日 22時公開
(10/01)
『ラストオブアス2』の発売は2019年か PS Musicの紹介に「Music from The Last of Us Part II (2019)」
(09/30)
カテゴリー
このごろ ( 205 )
マンガ レビュー ( 25 )
GAME ( 1987 )
PSVITA ( 1089 )
PSP ( 59 )
PlayStation Network ( 253 )
3DS ( 357 )
WiiU ( 347 )
DS ( 1 )
PS4 ( 1753 )
XBOX ONE ( 202 )
ニンテンドースイッチ ( 189 )
PC GAME ( 83 )
スマホ ( 52 )
ゲーム売上・考察 ( 1264 )
べスト版 廉価版 ( 44 )
クリエイター ( 52 )
ゲームショー ( 309 )
ニンテンドーダイレクト ( 64 )
ゲーム放送・生中継 ( 225 )
国内ハード販売台数 ( 12 )
アーカイブ
2018 年 10 月 ( 9 )
2018 年 09 月 ( 77 )
2018 年 08 月 ( 40 )
2018 年 07 月 ( 34 )
2018 年 06 月 ( 57 )
カウンター
予約開始
SEKIRO: SHADOWS DIE TWICE (【予約特典】同梱)
2019-03-22
ドラゴンクエストビルダーズ2【早期購入特典】同梱
2018-12-20
JUDGE EYES:死神の遺言 - PS4
2018-12-13
ACE COMBAT 7: SKIES UNKNOWN【早期購入特典】「AC5移植版) 」 ほか封入
2019-01-17
レッド・デッド・リデンプション2【数量限定特典】同梱
2018-10-26
キングダム ハーツIII - PS4
2019-01-25
Anthem (アンセム) 【予約特典】同梱 - PS4
2019-02-22
CODE VEIN【予約特典】【早期購入特典】(封入)
2018-09-27
バーコード
人気記事
プロフィール
HN:
とり
自己紹介:
トリコのフィギュアが今さらほしくなってきました…
@tori3haneをフォロー
おすすめ
RSS
RSS 0.91
RSS 1.0
RSS 2.0
忍者PR
PR
ATOM
RSS
Copyright ©
都々逸
All Rights Reserved
Design by
MMIT
/
TemplateB3
Powered by
NINJA TOOLS
忍者ブログ
[PR]