 
 
 
[PR]上記の広告は3ヶ月以上新規記事投稿のないブログに表示されています。新しい記事を書く事で広告が消えます。
任天堂は、3DSの上の新しい種類の入力のための特許をファイルしました-コンソールを備えたスキンシップを全く要求しないもの。
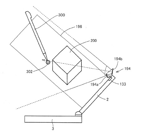
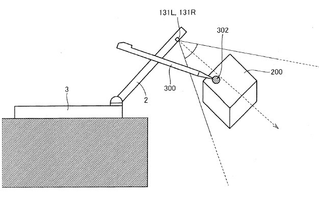
ボタン、タッチ・スクリーンあるいはコンソールを移動させることの必要なしでトップのスクリーン上の3Dイメージを操作するために、その適用は、ペンと共に3DSコンソールの内部の面するカメラを使用します。
内部へ面するカメラは、ペンの先端に適用された「マーカー」を検知します。
3DSは、マーカーのトップのスクリーン上のアイテムを操作するためにその情報を使用して、そのサイズと位置に基づいた3Dスペースの位置を計算することができます。
ペンをさらに移すことによって、オブジェクトは、スクリーンに「現われる」ように見えるかもしれません;
ペンを近く移動させてください。そうすれば、オブジェクトは、3Dスペースへより深く移動するように見えるでしょう。
それは、内部のカメラにも制限されていません。特許は、機械の後ろのアイテムを移動させるためにややはるかにより多くの柔軟性でのみシステムの既存の拡張現実感ソフトウェアの中でカードを動かすように、あなたが同じ針マーカー・コンビネーションを使用することができたことを示します。
特許は、さらに、あなたが、それが3DSカメラによって追跡されることを可能にするマーカーでも仮想アイテムもとも対話する場合あなたに物理的なフィードバックを与えて、振動機能を備えた新しい種類のタッチペンを指します。
	他社がクラウド化の流れで、リビングのエンタテインメント覇者を目指す中で特殊な進化を続ける任天堂。
	特徴があるハードでE3で存在感を示せるのか。そんな片鱗を漂わす特許です。
	
	
	
	カルドセプト
	任天堂
	プラットフォーム: Nintendo 3DS
	2012-06-28
	
	amazon